ST



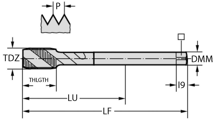
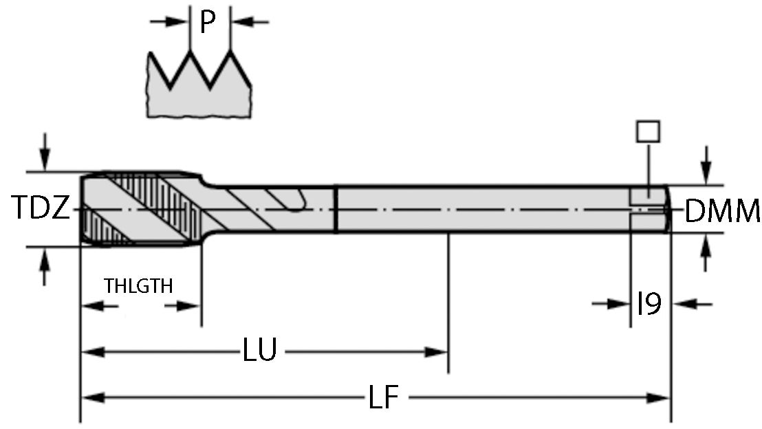
GÄNGTAPP M225549-EGUNC5/16 EG 5/16 -18 UNC-3B 100/15/7/3
Detaljer
Artikelnummer:
M225549EGUNC516
Lev. artikelnummer:
6523814
Antal/förpackning:
1
Antal i lager:
0
Lagerstatus:
Leveranstid 2-4 dagar
Anpassa
Beskrivning
HSS-E-gängtappar (Paradur ® X-pert M), med gängstorlek EGUNC1/2, lämpliga för bearbetning av bottenhål. För långspånande material.



