ST



GÄNGTAPP TC420-M3-CH-WW60AD 6HX
Detaljer
Artikelnummer:
TC420-M3-CH-WW60AD
Lev. artikelnummer:
7427336
Antal/förpackning:
1
Antal i lager:
0
Lagerstatus:
Leveranstid 2-4 dagar
Anpassa
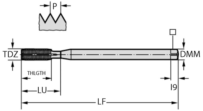
Beskrivning
HSS-E-PM- maskingängtapp TC420 (TC420-M-CH, förstärkt skaft), med gängstorlek M3, lämpliga för bearbetning av grund- och genomgående hål. För långspånande material.



